SK-LZB()B/LZJ系列
不鏽(xiù)鋼玻璃轉子流量(liàng)計
廣泛應用于化(huà)工、石油、輕工、醫藥(yào)、環保、食品及計量(liang)測試、科學🧑🏾🤝🧑🏼研究等(deng)部門,測量單相非(fēi)脈動流體(液體或(huo)氣體)的⭐流量。
SK-LZB/( )F/LZJ-( )F系列(lie)耐腐型玻璃轉子(zi)流量計有較強的(de)耐腐性能,可🙇♀️檢🌈測(ce)💁酸(氫氟酸除外)、堿(jiǎn)、氧化劑和其它腐(fu)蝕性的氣體🚩或液(ye)體的流量,适用❤️于(yú)化工、制藥、造紙、污(wu)水處理等行🔞業。
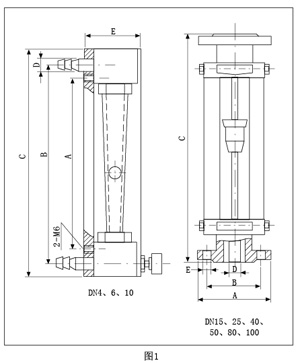
| 外(wai)形及安裝尺寸 | |
|
|
|
原(yuan)理與結構
|
|
|
SK-LZB/LZB-( )F流量計的錐管爲(wèi)光滑内壁管(見圖(tu)4),通徑DN15以上的流量(liang)計,浮⭐子通過導杆(gan) 上下移動,保持穩(wen)定;SK-LZJ/LZJ-( )F流量計錐管 内(nei)壁有三條導向凸(tū)筋,使浮子保持穩(wěn)定(見圖4)。通徑DN10以下(xià)的流量計采用軟(ruan)管連接,配有 針形(xing)流量調節閥;通徑(jìng)DN15以上流量計采用(yòng)法蘭連接。 |
|
接觸測(cè)量流體的零部件(jiàn)材質 |
型号規格及(jí)技術參數
全不鏽(xiù)鋼型
法蘭、浮子、導(dao)杆、支承闆及螺栓(shuān)等均爲不鏽鋼304(1Cr18Ni9Ti),型(xíng)号爲🔞SK-LZB-( )B。
接液材質如(rú)需選用316,則型号爲(wèi)SK-LZB-( )Bo,需定做。
如需不鏽(xiu)鋼内襯PTFE,則型号爲(wèi)SK-LZB-( )BF(或BoF),需定做。
全四氟(fu)型
基座、浮子、針閥(fá)采用聚四氟乙烯(xi)(PTTFE)。支承闆、螺絲等采(cǎi)❤️用不鏽鋼